Shaded pole induction motors are among the simplest types of single-phase AC motors found in electrical engineering applications. These motors have been serving the industry for decades due to their straightforward construction and reliable operation.
The shaded pole motor gets its name from the copper shading coils placed on a portion of each pole face. These shading coils create a time-delayed magnetic field that allows the motor to self-start without requiring additional starting mechanisms. This self-starting capability makes shaded pole motors popular in applications where simplicity matters more than efficiency.
In this technical guide, we will explore every aspect of shaded pole induction motors. From their construction and working principle to their advantages and practical applications.
1. Construction of Shaded Pole Induction Motors
The construction of a shaded pole induction motor is simple compared to other types of induction motors. Let us examine each component in detail.
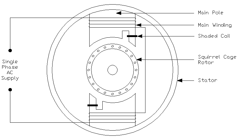
1.1 Stator Assembly
The stator of a shaded pole motor consists of a salient pole structure. Unlike distributed winding stators found in larger motors, shaded pole motors use concentrated windings wound around each pole. The stator core is made from laminated silicon steel sheets to reduce eddy current losses.
Each pole of the stator has a small portion that is “shaded” by a short-circuited copper ring or band. This shaded portion occupies approximately one-third of the total pole face area. The copper ring is simply a single-turn coil that is permanently short-circuited.

1.2 Rotor Assembly
The rotor in a shaded pole motor is a standard squirrel cage rotor. It consists of laminated iron core with aluminum or copper bars embedded in slots around the periphery. These bars are short-circuited at both ends by end rings, forming a cage-like structure.
The air gap between the stator and rotor is kept as small as mechanically possible to maximize magnetic coupling and improve motor performance.

1.3 Shading Coils
The shading coils are thick copper bands or rings embedded in slots cut across a portion of each pole face. These coils are not connected to any external circuit. They operate purely through electromagnetic induction from the main pole flux.
The position and size of shading coils directly affect the starting torque and running characteristics of the motor. Engineers must carefully design these elements based on the intended application.

2. Working Principle of Shaded Pole Induction Motors
The shaded pole induction motor works on a very simple idea. It produces a rotating magnetic field without using any extra winding or capacitor. Instead, it uses a small copper ring embedded in the pole face to create the necessary field movement. To understand how this motor operates, we need to look at each stage of the process one by one.

2.1 Flux Distribution in Shaded and Unshaded Portions
When you connect an AC power supply to the stator winding, it generates an alternating magnetic flux in the main pole. Now, this flux does not pass through the entire pole face in a uniform manner. The pole is physically divided into two regions. One region is the unshaded portion, which has no copper ring around it. The other region is the shaded portion, where a short-circuited copper ring (also called a shading band) is placed around a small section of the pole face.
The copper shading ring behaves exactly like the short-circuited secondary coil of a transformer. As the main flux keeps changing with the AC cycle, it induces an EMF in this copper ring. This happens because of Faraday’s law of electromagnetic induction. Whenever a changing magnetic flux links with a closed conductor, it generates a voltage across that conductor. Since the shading ring is a closed loop with very low resistance, this induced EMF drives a current through it. This current then produces its own magnetic flux in the shaded portion of the pole.
2.2 Time Delay Effect
The current flowing through the shading ring creates a secondary magnetic field. According to Lenz’s law, this secondary field always acts in a direction that opposes the change responsible for producing it. So during the rising part of the AC cycle, the shading ring current generates a flux that fights against the increasing main flux in the shaded portion. This opposition slows down the build-up of flux in the shaded region.
As a result, the flux in the shaded portion does not rise and fall at the same time as the flux in the unshaded portion. The shaded portion flux always lags behind. There is a measurable time delay or phase difference between the two fluxes. During the decreasing part of the AC cycle, the shading ring current again opposes the change. This time it tries to maintain the flux in the shaded region even as the main flux is falling. So the flux in the shaded portion holds on a little longer compared to the unshaded portion.
This time delay is the key to how this motor starts and runs. Without the shading ring, both portions of the pole would have identical flux patterns. There would be no sweeping action and no starting torque at all.
2.3 Creation of Rotating Magnetic Field
Because the flux in the unshaded portion reaches its peak value first and the flux in the shaded portion reaches its peak a short time later, the overall magnetic field appears to sweep across the pole face. The field seems to travel from the unshaded side toward the shaded side of each pole.
This sweeping action mimics a rotating magnetic field. However, it is important to understand that this field is not smooth or uniform like the one you would find in a three-phase induction motor. A three-phase motor produces a perfectly circular rotating field because it uses three separate windings spaced 120 degrees apart. In a shaded pole motor, the field movement is more of a jerky shift from one side of the pole to the other. It is a weak and non-uniform rotating field. But even this imperfect field movement is enough to get the rotor spinning from a standstill.
2.4 Rotor Rotation
Once this sweeping magnetic field is established, it passes through the conductors of the squirrel cage rotor placed inside the stator. The moving field lines cut across the rotor bars and induce currents in them. This is again an application of Faraday’s law. The rotor does not need any external electrical connection because the currents are generated through electromagnetic induction alone.
These induced rotor currents create their own magnetic field around each rotor bar. This rotor field interacts with the stator’s sweeping magnetic field. The interaction between these two fields produces a mechanical force on the rotor. This force is what we call torque. The rotor begins to spin in the same direction as the sweeping field. It always moves from the unshaded portion toward the shaded portion of the pole.
The direction of rotation in a shaded pole motor is fixed by the physical position of the shading ring. You cannot reverse the rotation direction by simply swapping the supply terminals. If you need the motor to spin in the opposite direction, you would have to physically reposition the shading rings on the other side of the poles. This is one of the well-known limitations of shaded pole motors.
3. Mathematical Analysis of Shaded Pole Motors
To fully grasp how a shaded pole motor behaves, it helps to look at the basic mathematics behind its operation. The equations are not overly complex. They follow directly from the fundamental laws of electromagnetic induction. Let us go through each one step by step.
3.1 Induced EMF in Shading Coil
The voltage induced in any coil placed in a changing magnetic field is governed by Faraday’s law. The general formula for induced EMF is written as:
\(E = -N \times (\frac{d\Phi}{dt})\)
Here, \(N\) stands for the number of turns in the coil, \(\Phi\) represents the magnetic flux passing through the coil, and \(\frac{d\Phi}{dt}\) describes the rate at which this flux changes with time. The negative sign indicates that the induced EMF opposes the change in flux. This opposition is described by Lenz’s law.
Now, in a shaded pole motor, the shading coil is nothing but a single copper ring or band placed around part of the pole face. It is not a multi-turn winding. It has only one turn. So the value of N becomes 1. This simplifies the equation to:
\(E = -\frac{d\Phi}{dt}\)
This tells us that the EMF induced in the shading ring at any instant depends entirely on how fast the main flux is changing at that moment. When the AC flux is rising or falling rapidly (near the zero-crossing points of the AC cycle), the induced EMF is at its maximum. When the flux reaches its peak value and momentarily stops changing, the induced EMF drops to zero.
3.2 Shading Coil Current
Once the EMF is induced in the shading ring, it drives a current through the ring. The magnitude of this current depends on how much the ring resists the flow of current. This opposition to current flow is called impedance. The relationship is expressed as:
\(I = \frac{E}{Z}\)
Where \(Z\) is the impedance of the shading ring, which is primarily resistive for thick copper bands.
3.3 Phase Angle
The time delay between the flux in the shaded portion and the flux in the unshaded portion can be expressed as a phase angle. This phase angle depends on the resistance and inductance of the shading coil.
For the motor to produce the highest possible starting torque, this phase angle should be as large as it can get. In an ideal situation, a phase angle of 90 degrees would give the best result. A 90-degree phase difference would mean the two fluxes are perfectly staggered in time. This would create the smoothest and strongest sweeping magnetic field across the pole face.
However, achieving a 90-degree phase angle with a simple copper ring is not practically possible. The shading ring is a single short-circuited turn with very low impedance. It cannot produce a large enough opposing flux to push the phase angle anywhere close to 90 degrees. In real-world shaded pole motors, the phase angle between the shaded and unshaded flux falls in the range of 15 to 30 degrees only. This small phase angle is one of the main reasons why shaded pole motors have weak starting torque and low overall efficiency compared to other types of single-phase induction motors.
3.4 Starting Torque
The starting torque of a shaded pole motor depends on three factors. It is proportional to the product of the two component fluxes and the sine of the phase angle between them. The relationship is written as:
\(T \propto \Phi_1 \times \Phi_2 \times sin(\alpha)\)
Where \(\Phi_1\) is the flux in unshaded portion, \(\Phi_2\) is the flux in shaded portion, and \(\alpha\) is the phase angle between them.
This equation reveals a few important things. First, both flux components must be as strong as possible to get a reasonable starting torque. Second, the sine function tells us that the phase angle plays a huge role. If α is zero, sin(0) is zero, and the motor produces no torque at all. If α were 90 degrees, sin(90) would equal 1, and the torque would be at its maximum value. But since practical shaded pole motors only achieve phase angles between 15 and 30 degrees, the sine value stays between 0.26 and 0.50.
This means the motor can only use a fraction of its theoretical maximum torque for starting. This is exactly why shaded pole motors are suited only for low-torque applications like small fans and blowers where the load at startup is very light.
4. Types of Shaded Pole Motor Designs
Several variations of shaded pole motors exist for different applications.
4.1 Single Shaded Pole Type
This is the most common design where each stator pole has one shading coil on one side. These motors rotate in only one direction and cannot be reversed easily.
4.2 Double Shaded Pole Type
In this design, shading coils are placed on both sides of each pole. By selectively short-circuiting one set of shading coils while keeping the other open, the direction of rotation can be changed. These motors offer reversibility at the cost of increased complexity.
4.3 Skeleton Type Shaded Pole Motor
The skeleton type uses a very simple C-shaped stator core. The construction is extremely economical and is used in the smallest motors for applications like hair dryers and small fans.
4.4 Exterior Rotor Type
Some shaded pole motors have the rotor on the outside and the stator on the inside. This design provides higher inertia and smoother operation for applications like record players and cooling fans.
5. Characteristics of Shaded Pole Motors
5.1 Speed-Torque Characteristics
The speed-torque curve of a shaded pole motor is relatively flat compared to other single-phase induction motors. This means the motor speed does not change drastically as the load on it increases within its rated range.
The starting torque of a shaded pole motor is quite weak. It falls somewhere between 25% to 75% of the full-load torque depending on the motor design and the size of the shading rings. This low starting torque is a direct consequence of the small phase angle between the shaded and unshaded flux components. As we discussed in the mathematical analysis, a phase angle of only 15 to 30 degrees severely limits the torque the motor can produce at standstill.
Once the rotor begins to spin and picks up speed, the torque increases slightly. The motor eventually settles at its operating point where the motor torque matches the load torque. Beyond this operating point, if you keep adding more load, the motor speed drops sharply and the motor may stall.
Another notable feature of shaded pole motors is their high slip at full load. Slip refers to the difference between the synchronous speed of the rotating magnetic field and the actual speed of the rotor. In most other motor types, full-load slip stays below 5%. But in shaded pole motors, the full-load slip is much higher. It usually falls in the range of 10% to 20%. This means the rotor always runs slower than the synchronous speed.

5.2 Efficiency Characteristics
Shaded pole motors are among the least efficient electric motors available. Their efficiency generally falls in the range of 5% to 35% depending on the motor size and construction. Smaller motors tend to be at the lower end of this range while slightly larger ones perform a bit better.
5.3 Power Factor
The power factor of a shaded pole motor is poor. It generally falls in the range of 0.4 to 0.6 lagging. This means for every unit of apparent power drawn from the supply, only 40% to 60% is converted into real usable power. The rest circulates back and forth between the supply and the motor as reactive power.
There are two main reasons for this low power factor. First, the motor is highly inductive in nature. The salient pole construction with its large air gap demands a heavy magnetizing current to establish the magnetic flux. This magnetizing current is purely reactive and does not contribute to any useful work. Second, the shading coils continuously waste energy in the form of heat. The supply has to deliver extra current to compensate for these losses. The combination of high magnetizing current and shading coil losses keeps the power factor at a disappointingly low level.
5.4 Direction of Rotation
A standard shaded pole motor can rotate in only one direction. This direction is always from the unshaded portion toward the shaded portion of each pole. The physical placement of the copper shading ring on the pole face permanently fixes the rotation direction at the time of manufacturing.
You cannot reverse the direction of rotation by swapping the power supply connections. Interchanging the two supply wires has no effect on the direction of the sweeping magnetic field because the shading ring position remains unchanged relative to the pole.
If you need to reverse the rotation of a shaded pole motor, there are only two practical options. The first option is to physically disassemble the motor and flip the stator so that the shading rings are now on the opposite side relative to the rotor. This is not a convenient solution and is rarely done in practice. The second option is to use a specially designed double-shaded pole motor. In this design, shading rings are placed on both sides of each pole. The motor includes a switching mechanism that allows you to activate one set of shading rings while the other set remains open-circuited.
6. Advantages and Disadvantages of Shaded Pole Induction Motors
6.1 Advantages
Shaded pole motors offer several benefits that make them suitable for specific applications.
- Simple Construction: These motors have the simplest construction among all types of induction motors. There are no centrifugal switches, capacitors, or auxiliary windings required.
- Low Manufacturing Cost: The absence of starting components and the straightforward design make shaded pole motors very inexpensive to produce.
- Self-Starting Capability: Shaded pole motors can start on their own without any external starting mechanism.
- Compact Size: These motors can be built in very small sizes, down to a few watts of output power.
- Reliable Operation: With fewer components that can fail, shaded pole motors demonstrate excellent long-term reliability.
- Low Noise Operation: Shaded pole motors run quietly because they have no switching mechanisms or brushes.
- Tolerance to Load Variations: These motors can handle moderate load variations without significant performance degradation.
6.2 Disadvantages
Despite their simplicity, shaded pole motors have several limitations.
- Very Low Efficiency: The efficiency of these motors is the lowest among all motor types. Large amounts of energy are wasted as heat in the shading coils and due to high slip. For applications running continuously, energy costs can be substantial.
- Low Starting Torque: Shaded pole motors cannot start heavy loads. Their low starting torque limits them to applications where the load is light during startup.
- Low Power Factor: The poor power factor means these motors draw more current than necessary from the supply. This can affect the electrical system and increase electricity costs.
- Limited Power Range: Shaded pole motors are only practical for very small power ratings, usually below 1/4 horsepower (about 200 watts). Larger sizes become impractical due to efficiency and heating issues.
- Non-Reversible: Standard designs can only rotate in one direction. Applications requiring reversibility need more complex and expensive designs.
- Poor Speed Regulation: The speed of shaded pole motors varies considerably with load changes. They are not suitable for applications requiring constant speed.
- High Operating Temperature: Due to their low efficiency, shaded pole motors generate significant heat during operation. This heat can reduce the life of insulation and bearings.
7. Applications of Shaded Pole Induction Motors
Despite their limitations, shaded pole motors find widespread use in many applications.
- Cooling Fans and Blowers: Small cooling fans in computers, refrigerators, and air conditioners frequently use shaded pole motors.
- Household Appliances: Hair dryers, small vacuum cleaners, and exhaust fans often incorporate shaded pole motors.
- Office Equipment: Projectors, photocopiers, and other office machines use shaded pole motors for cooling and paper transport.
- Small Pumps: Aquarium pumps, small circulation pumps, and similar low-power pumping applications use shaded pole motors.
- Record Players and Turntables: The exterior rotor type of shaded pole motor provides the smooth, consistent rotation needed for audio turntables.
- Display Equipment: Rotating displays in shops and exhibitions often use shaded pole motors. The slow, steady rotation is achieved by gear reduction with a shaded pole motor.
- Vending Machines: Product dispensing mechanisms in vending machines frequently employ shaded pole motors.
- Timing Devices: Some timing mechanisms and clock motors use shaded pole designs for their dependable operation.
8. Comparison with Other Single-Phase Motors
8.1 Shaded Pole Motor vs Split Phase Motor
The split phase motor uses two separate stator windings to produce its starting torque. One is the main winding and the other is an auxiliary or starting winding with a higher resistance-to-reactance ratio. The phase difference between the currents in these two windings creates the rotating magnetic field needed for starting. Once the motor reaches about 75% of its synchronous speed, a centrifugal switch disconnects the starting winding from the circuit.
Compared to the shaded pole motor, the split phase motor produces a much higher starting torque. It can deliver starting torque in the range of 150% to 200% of full-load torque. The shaded pole motor manages only 25% to 75% in comparison. The split phase motor also has better efficiency and power factor because it does not suffer from continuous shading ring losses.
However, the split phase motor is more expensive to manufacture due to the extra winding and centrifugal switch. It also requires more maintenance because the centrifugal switch is a mechanical component that can wear out over time. Shaded pole motors have no such moving parts in their stator assembly and are therefore more reliable for long-term use in light-duty applications.
8.2 Shaded Pole Motor vs Capacitor Start Motor
The capacitor start motor is an improved version of the split phase design. It uses a capacitor connected in series with the auxiliary winding to create a larger phase difference between the main and auxiliary winding currents. This capacitor is an electrolytic type rated for short-duration use. A centrifugal switch disconnects both the capacitor and the auxiliary winding once the motor reaches its operating speed.
The starting torque of a capacitor start motor is far superior to that of a shaded pole motor. It can produce starting torque as high as 300% to 450% of full-load torque. This makes it suitable for applications where the motor must start under heavy load conditions like compressors and pumps. The shaded pole motor cannot handle such demanding starts at all. The capacitor start motor also runs with better efficiency and a healthier power factor during normal operation.
On the downside, it is significantly more expensive than a shaded pole motor. The electrolytic capacitor has a limited lifespan and the centrifugal switch adds another failure point. For small and simple applications like desk fans and display turntables, spending money on a capacitor start motor would be unnecessary when a cheap shaded pole motor can do the job perfectly well.
8.3 Shaded Pole Motor vs Capacitor Start Capacitor Run Motor
The capacitor start capacitor run motor uses two capacitors instead of one. A high-value electrolytic capacitor assists during startup and gets disconnected by a centrifugal switch after the motor reaches speed. A second oil-filled capacitor of lower value remains connected permanently during running. This run capacitor keeps improving the magnetic field balance and power factor even after the motor has reached its full speed.
This motor type offers the best overall performance among all single-phase induction motors. It has high starting torque along with smooth and quiet operation during running. Its efficiency and power factor are both considerably better than the shaded pole motor at every loading condition. The permanently connected run capacitor reduces the pulsating torque component and brings down vibration and noise levels.
However, this motor is the most expensive single-phase motor to build. It uses two capacitors, an extra winding, and a centrifugal switch. The manufacturing and maintenance costs are much higher than a shaded pole motor. Shaded pole motors win in situations where the absolute lowest cost and the simplest construction are the top priorities. But for any application requiring decent efficiency or moderate starting torque, the capacitor start capacitor run motor is a far better choice.
8.4 Shaded Pole Motor vs Permanent Split Capacitor Motor
The permanent split capacitor motor (also called the PSC motor) uses a single run capacitor that stays connected to the auxiliary winding at all times. There is no centrifugal switch in this design. The capacitor value is chosen to optimize running performance rather than starting performance. This makes the PSC motor simple in construction while still offering better performance than a shaded pole motor.
The PSC motor delivers moderate starting torque in the range of 30% to 150% of full-load torque. This is better than what a shaded pole motor can achieve. During running, the PSC motor has noticeably better efficiency and power factor because the run capacitor helps balance the magnetic field inside the motor. The absence of a centrifugal switch makes the PSC motor quieter and more reliable than split phase or capacitor start designs. It also allows smooth speed control through voltage variation or electronic methods. The shaded pole motor also allows speed control through voltage variation but does so with much worse efficiency.
The PSC motor costs more than a shaded pole motor because of the added capacitor and auxiliary winding. But it costs less than capacitor start or capacitor start capacitor run motors. In applications like ceiling fans and air handling units where continuous running efficiency matters, the PSC motor is preferred over the shaded pole motor.
9. Conclusion
Shaded pole induction motors are simple, reliable, and inexpensive single-phase motors. They create a rotating magnetic field through shading coils that delay a portion of the pole flux. While their efficiency is low and starting torque is limited, they excel in applications requiring simple, maintenance-free operation.
10. Frequently Asked Questions (FAQs)
The motor is called a shaded pole motor because a portion of each stator pole is “shaded” by a copper ring or band.
Standard shaded pole motors cannot be reversed because the shading coils are fixed on one side of each pole. The magnetic field always sweeps from the unshaded portion to the shaded portion. To reverse the motor, you would need a special double-shaded design or physically reposition the stator.
Shaded pole motors have efficiencies between 5% and 35%, which is the lowest among all motor types.
Shaded pole motors are commonly used in small fans, blowers, hair dryers, projectors, small pumps, exhaust fans, refrigerator evaporator fans, and various small household appliances where low cost and simple operation are priorities.
The starting torque is low because the phase shift between the shaded and unshaded flux is only about 15 to 30 degrees. For maximum torque, this angle should be 90 degrees.
No, shaded pole motors cannot run on DC supply. They require AC supply because the changing flux is necessary to induce current in the shading coils.
The direction of rotation is determined by the position of the shading coils. The rotor always rotates from the unshaded portion of the pole toward the shaded portion.
When the main flux changes, it induces an EMF in the shading coil according to Faraday’s law. This EMF drives a current through the coil, and this current creates its own magnetic field that opposes the flux change. This opposition delays the flux in the shaded portion relative to the unshaded portion.
Shaded pole motors are practical only for small power ratings, usually from 1 watt to about 200 watts (1/4 horsepower).
Yes, in many cases a capacitor motor can replace a shaded pole motor if the mounting dimensions match.